Apple has a patent on a super thin switch-less Force Touch keyboard - I think it's for Apple's next device

Apple has invented a switch-less keyboard based on Force Touch technology shows a new patent.

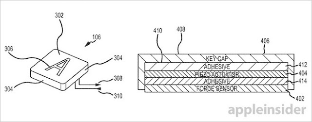
As granted by the U.S. Patent and Trademark Office, Apple's U.S. Patent No. 9,178,509 for an “Ultra low travel keyboard” describes the basic operating principles behind a completely switch-less QWERTY input mechanism reminiscent of the company's Force Touch trackpads. Removing mechanical switches from the equation cuts precious millimeters off key height, allowing for even thinner MacBook designs.

Personally I don't believe such a keyboard is for coming Macs. I believe it's for Apple's next step in merging the iPad with the Macbook. An iPad that has a detachable keyboard and touch pad based on 3D Touch. Designed much like Microsoft's new Surface Book.

I have posted videos about that long before Microsoft unveiled the Surface Book:

Via Apple patents switch-less Force Touch keyboard for Mac